home > products > hydraulic shock absorber > ACD shock absorber
ACD shock absorber

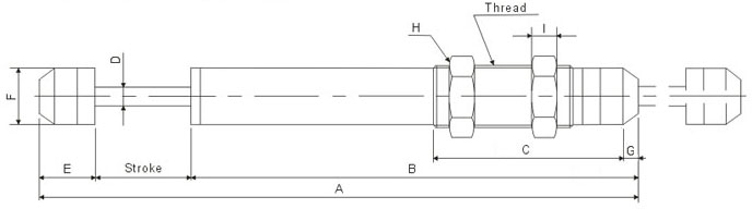
| Model | Thread | Stroke (mm) | A | B | C | D | E | F | G | H | I |
|---|---|---|---|---|---|---|---|---|---|---|---|
| AC2030-1 | M20×1.5 | 30 | 189 | 123 | 44 | 6 | 18 | 18 | 3 | 26 | 8 |
| AC2030-2 | M20×1.5 | 30 | 189 | 123 | 44 | 6 | 18 | 18 | 3 | 26 | 8 |
| AC2035-1 | M20×1.5 | 35 | 223 | 123 | 40 | 6 | 15 | 18 | 5 | 26 | 8 |
| AC2035-2 | M20×1.5 | 35 | 223 | 123 | 40 | 6 | 15 | 18 | 5 | 26 | 8 |
| Model | Stroke (mm) |
Energy absorption (Nm) |
Hours of energy absorption (Nm) |
Maximum load (kg) | Max impact Speed(m/s) | Operating Temperature (°C) |
|---|---|---|---|---|---|---|
| ACD-2030-1 | 30 | 45 | 54,000 | 40 | 3.5 | -10~85 |
| ACD-2030-2 | 30 | 45 | 54,000 | 300 | 2.0 | -10~85 |
| ACD-2035-1 | 35 | 52 | 62,400 | 40 | 3.5 | -10~85 |
| ACD-2035-2 |
35 |
52 |
62,400 |
200 |
2.0 |
-10~85 |